Strona 26 z 40
Re: drobnicowiec FRANCISZEK ZUBRZYCKI
: 20 lis 2018, 18:27
autor: ryszardb
Jacek ! przeglądałem ostatnio Ship Knowledge
i znalazłem parę obrazków dotyczących pokryw, które powinny Cię zainteresować

- 2p.png (409.26 KiB) Przejrzano 9976 razy
Re: drobnicowiec FRANCISZEK ZUBRZYCKI
: 20 lis 2018, 18:43
autor: ryszardb
Re: drobnicowiec FRANCISZEK ZUBRZYCKI
: 20 lis 2018, 19:23
autor: Jacek.
Dziękuje Ryszardzie . Wszystko opierało się o ten trzeci panel gdzie w rzeczywistości podnoszony jest za pomocą siłownika . Ja to rozwiązałem za pomocą krzywek i grawitacji . Z dwoma pokrywami jest bardzo łatwo zrobić zamykanie tym bardziej że pozostałe mają tylko po dwa panele . Myślę ze zbliżam sie do ukończenia tego zestawu .
Re: drobnicowiec FRANCISZEK ZUBRZYCKI
: 21 lis 2018, 07:35
autor: rekmak
Obrazki Ryszardb nasunęły mi myśl otwierania i zamykania za pomocą serwa umieszczonego niżej i długiego ramienia na osi z końcem na ostatniej pokrywie. To ramię dosunie pokrywy ściśle. Szybkość zależy od ruchu drążka nadajnika.
Jest jeszcze taka sprawa, że skoro z jednego kanału można kablem Y sterować dwoma silnikami, to można także dwoma serwami i otwierają się dwie pokrywy ładowni.
Jeżeli ten pomysł Cię zainteresuje, zrobię rysunek dla jasności.
Re: drobnicowiec FRANCISZEK ZUBRZYCKI
: 21 lis 2018, 09:09
autor: Jacek.
Dziękuje za pomysły . Myślę że pozostane przy tym co zmajstrowałem . Może ktos weźmie wzór i lepiej to wykona . Najłatwiej było by zrobić z samym serwem też to rozważałem ale chciałem aby się powoli zamykały i otwierały pokrywy . Trzeba by było zastosować zwalniacze do serw . Ja tego nie stosowałem . Wszyscy podpowiadali zwalniacze ale jak sie zapytać czy mieli do czynienia z tym to cisza nikt nic nie wie a nie chciałem zastosować czegoś czego nie znam a na dodatek jeden to 200zł . Zastosowałem rozwiązania mechaniczne z przed 30 lat i myślę że będzie działać . Robię ostatnie szlify co wyjdzie zobaczy sie
Re: drobnicowiec FRANCISZEK ZUBRZYCKI
: 21 lis 2018, 19:58
autor: PufcioFromWiocha
Witam,
budujesz bardzo ciekawy model. Być może jest już na późno, ale tutaj:
https://youtu.be/Sf2yubWeZMQwrzuciłem wizualizację rozwiązania podnoszenia tych pokryw. Starujesz dźwignią w pokrywie różowej, która wymusza składanie się jej do góry. Reszta działa już samoczynnie (przynajmniej w teorii...)
Pozdrawiam
Paweł
Re: drobnicowiec FRANCISZEK ZUBRZYCKI
: 22 lis 2018, 14:04
autor: Jacek.
Dziękuję za podpowiedzi . Myślę że temat tej ładowni rozwiązany . Pozostało tylko doracować krzywki wyszlifowac prowadnice i lekko nasmarować . Zlikwidować zacięcia i ustawić krzywki aby ładownie otwierały się równo ..Model obciążyłem do testów 1,5 kilogramami ale myślę że spokojnie 2 kilo wytrzymie .
Model można obciążyć do tych bocznych ładowni na burtach .Wizualnie nie jest imponujące ale co chwila coś dolutowuje i przerabiam tak że nie warto wygładzać . Na to przyjdzie czas .
https://www.youtube.com/watch?v=RjEq32M6H04https://www.youtube.com/watch?v=c_rurGkxJqw
Re: drobnicowiec FRANCISZEK ZUBRZYCKI
: 25 lis 2018, 11:18
autor: Jacek.
Aby Was nie zanudzać moimi wszystkimi poprawkami których może tak spektakularnie nie widać ale za każdym razem cos poprawiam a nie chcę tutaj co chwila wrzucać . Zapraszam na stronę gdzie będę pokazywał nawet te nie udane próby wszak to należy też do budowy
https://www.facebook.com/Modelarstwo-RC ... 744670534/ lub
https://www.facebook.com/groups/138827033436587/. Tutaj juz chyba ostateczna wersja i myślę że lepiej nie będzie . Jest to rozwiązanie grawitacyjne czyli takie że pokrywy otwierają sie pod wpływem własnego ciężaru . Nie chciałem robic dodatkowych napędów bo to wiąże sie z dodatkowym ciężarem .
https://www.youtube.com/watch?v=RjEq32M6H04 . Luzy już trochę skasowałem bo to kwestia dogięcia prowadnic .Teraz przystapie do pozostałych pokryw . Bedzie łatwiej bo pokrywy maja po dwa panele .Zdjęcia pokazują rozwiązanie podnoszenia pokryw .
Re: drobnicowiec FRANCISZEK ZUBRZYCKI
: 30 gru 2018, 20:09
autor: Jacek.
Chciałem tak trochę podsumować .budowę tej jednostki . Przyznam się że trochę się spieszyłem z ta budowa a to ze względów jak by to określić jego pływalnością . Teraz wiem na czym stoję czyli wiem ile jeszcze mogę go obciążyć . Chce w tym roku wrócić do silnika bo słabo wygląda w tym celu zakupiłem siatkę fot otrawiona i odpowiednie pręty mosiężne aby dopracować balustrady i odpowiednio pomalować . Dużą cześć roku zajęły mi próby z otwieranymi pokrywami to było bardzo trudne wyzwanie , gdyż chciałem aby było jak najmniej mechaniki ale powiodło sie .Szczególnie chciałem podziękować Ryszardowi który podrzucał materiały które były pomocne . Ten rok planuje popoprawiać to co mam aby nadać porządny wygląd .Jednak malowania nie zrobię gdyż będę jeszcze lutował do kadłuba . Kilka fotek z tego co jest
https://www.youtube.com/watch?v=GjjjGm1Opjw
Re: drobnicowiec FRANCISZEK ZUBRZYCKI
: 31 gru 2018, 12:36
autor: ryszardb
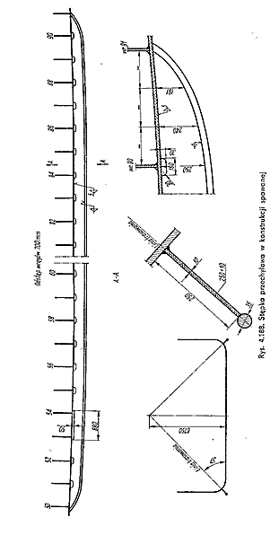
Pięknie to wygląda. Na filmiku widzę że Ci kotwica nie układa się przy chowaniu. Spróbuj uruchomić łapy kotwicy , żeby łatwo się obracały powinny się ułożyć przy składaniu wzdłuż kadłuba .
Brak jeszcze stępki przeciwprzechyłowej.

- 1.png (77.63 KiB) Przejrzano 8806 razy

- 2.png (22.31 KiB) Przejrzano 8806 razy

- 3.png (16.81 KiB) Przejrzano 8806 razy

- 4.png (35.34 KiB) Przejrzano 8806 razy

- 5.png (133.67 KiB) Przejrzano 8806 razy

- 6.png (52.2 KiB) Przejrzano 8802 razy
Rysunki pochodzą z książki Witold Wakuła "Konstrukcja kadłuba okrętu" oraz Aleksander Potyrała " Konstrukcja kadłuba okrętowego"
Pozdrowienia
Szczęśliwego Nowego Roku
Ryszard