Olinowanie HMS Victory

Tu pacujemy nad poradnikiem
ODPOWIEDZ
Awatar użytkownika
Jarcio
Posty: 96
Rejestracja: 17 lut 2011, 13:43
Lokalizacja: {"name":"Polska Gdynia","desc":"","lat":"","lng":""}

Re: Olinowanie HMS Victory

Post autor: Jarcio »

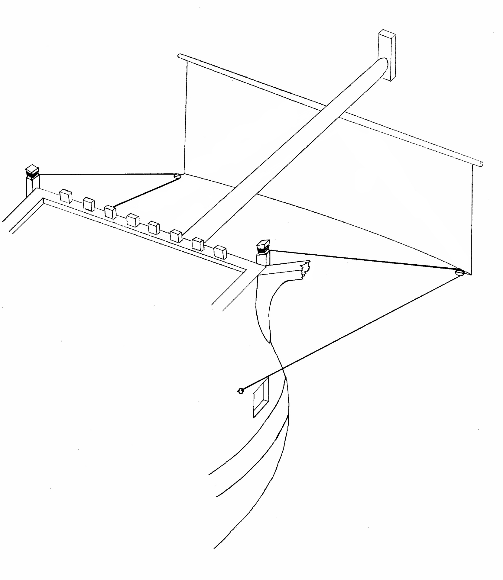
Brasy (braces) – (śr. 0,3 mm) – w górnej części brasy mocowane są do pętli mocującej foksztagu, tuż powyżej gałki tureckiej a następnie biegną w dół do blindrei, gdzie przechodzą przez bloki brasów (dł. 3,1 mm; sposób mocowania bloków do rei zob. rys. ruchomej topenanty). Następnie brasy biegną do góry, przechodzą przez wewnętrzny krążek podwójnego bloku zamocowanego pod platformą marsa fokmasztu. Dalej przez wewnętrzny krążek podwójnego bloku zamocowanego pod platformą bliżej rufy i ostatecznie odkładane są na pachołach (2 i 7 licząc od bakburty) znajdujących się przed wnęką na śródokręciu, obok dzwonnicy.

brasy blindrei.jpg
Awatar użytkownika
Jarcio
Posty: 96
Rejestracja: 17 lut 2011, 13:43
Lokalizacja: {"name":"Polska Gdynia","desc":"","lat":"","lng":""}

Re: Olinowanie HMS Victory

Post autor: Jarcio »

Fał (halliard) – (śr. 0,5 mm) – na obu końcach fału znajdują się oka z hakiem; „dziobowy” koniec fału jest mocowany hakiem do oka znajdującego się w dolnej części dyb bukszprytu. „Rufowy” koniec fału jest mocowany hakiem do oka w stropie, który przytwierdzony jest do blindrei, w centralnym punkcie rei, pomiędzy slingiem. Fał jest owijany liną na całej długości.

fał blindrei.JPG
Awatar użytkownika
Jarcio
Posty: 96
Rejestracja: 17 lut 2011, 13:43
Lokalizacja: {"name":"Polska Gdynia","desc":"","lat":"","lng":""}

Re: Olinowanie HMS Victory

Post autor: Jarcio »

Gejtawa (clue line) – (śr. 0,2 mm) – liny pracujące po wewnętrznej stronie żagla. Górny koniec gejtawy mocowany jest do blindrei obok bloku gejtawy; dalej przechodzi przez blok gejtawy zamocowany do rogu szotowego żagla, biegnie do góry i przechodzi przez blok gejtawy zamocowany do rei. Blok gejtawy jest mocowany stropem dookoła rei; strop zakończony jest dwoma pętlami, które łączone są przewiązem; blok znajduje się ok. 1 cm od slingu (licząc od slingu w kierunku noków rei). Ostatecznie gejtawa odkładana jest wokół dziobowej belki na fordeku.

gejtawa blindy.jpeg
Awatar użytkownika
Jarcio
Posty: 96
Rejestracja: 17 lut 2011, 13:43
Lokalizacja: {"name":"Polska Gdynia","desc":"","lat":"","lng":""}

Re: Olinowanie HMS Victory

Post autor: Jarcio »

Gordingi (buntlines) – (śr. 0,2 mm) – liny pracujące po zewnętrznej stronie żagla. W dolnej części gordingi mocowane są do pętelek przytwierdzonych do dolnego liku żagla, dalej przechodzą przez kauszę zamocowaną stropem do blindrei, przez blok (dł. 2 mm) zamocowany stropem po każdej stronie bukszprytu poniżej kauszy dla stałej topenanty blindrei i odkładane są wokół dziobowej belki na fordeku.
Gordingi blindy.jpg
Awatar użytkownika
Jarcio
Posty: 96
Rejestracja: 17 lut 2011, 13:43
Lokalizacja: {"name":"Polska Gdynia","desc":"","lat":"","lng":""}

Re: Olinowanie HMS Victory

Post autor: Jarcio »

Szoty (sheets) - (śr. 0,4 mm) – stała część szotu mocowana jest do oka przytwierdzonego do burty powyżej pierwszego gunportu na niższym pokładzie działowym; dalej lina przechodzi przez blok (dł. 3 mm) zamocowany do rogu szotowego i ostatecznie odkładana jest na dużym pachole znajdującym się na końcach dziobowej belki na fordeku.
szot blindy.jpg
Awatar użytkownika
Jarcio
Posty: 96
Rejestracja: 17 lut 2011, 13:43
Lokalizacja: {"name":"Polska Gdynia","desc":"","lat":"","lng":""}

Re: Olinowanie HMS Victory

Post autor: Jarcio »

Oberblinda (spritsail topsail), oberblindreja (spritsail topsail yard)

Reja oberblindy jest zawieszana pod bomstengą nie za pomocą slingu, ale więźby (parral); tego rodzaju więźba zbudowana jest z rakslotów (koralików) nanizanych na liny i przedzielanych deseczkami (płaskimi w dolnej części, a w górnej półokrągło wypukłymi po bokach i wklęsłymi na środku). Liny więźby na jednym końcu zakończone są okiem natomiast drugi koniec każdej z lin jest wolny. Liny zakończone okiem oplatają reję na bakburcie, a oba oka mocowane są przewiązem. Więźba spoczywa na górnej powierzchni bomstengi, a wolne końce lin oplatają reję na sterburcie, następnie liny biegną w kierunku bakburty spoczywając na więźbie, pomiędzy rakslotami (w zagłębieniu deseczek). Ostatecznie liny oplatają reję na bakburcie. Niestety nie mam pewności w jaki sposób wolne końce lin były mocowane po stronie bakburty (czy łączono je saizingiem czy też obwiązywano wokół lin więźby, pomiędzy reją a bomstengą). Żadne z dostępnych mi źródeł tego nie wyjaśnia.

więźba .jpg

Perty (śr. 0,2 mm) – mocowane tak samo jak na blindrei z tym, że nie mają szelek i nokpert.
Awatar użytkownika
Jarcio
Posty: 96
Rejestracja: 17 lut 2011, 13:43
Lokalizacja: {"name":"Polska Gdynia","desc":"","lat":"","lng":""}

Re: Olinowanie HMS Victory

Post autor: Jarcio »

Topenanta (lift) – (śr. 0,2 mm) – zakończona okiem szplajsowym, mocowanym dookoła noku rei; dalej przechodzi przez jedną z dwóch kausz, zamocowanych w stropie w zwężeniu przed nokiem bomstengi (zob. rysunek nok bomstengi-olinowanie stałe) i odkładana jest na 1 i 8 pachołku na dziobowej belce fordeku.

topenanta oberblindrei.jpg
Ostatnio zmieniony 25 lip 2014, 09:50 przez Jarcio, łącznie zmieniany 1 raz.
Awatar użytkownika
Jarcio
Posty: 96
Rejestracja: 17 lut 2011, 13:43
Lokalizacja: {"name":"Polska Gdynia","desc":"","lat":"","lng":""}

Re: Olinowanie HMS Victory

Post autor: Jarcio »

Fał (halliard) – (śr. 0,2 mm) – Zewnętrzny koniec fału jest uformowany w pętlę, która jest zamocowana do pętli utworzonej w stropie pojedynczego bloku (dł. 2,3 mm), zamocowanego w zwężeniu przed nokiem bomstengi (zob. rys. nok bomstengi – olinowanie stałe). Dalej przechodzi przez pojedynczy blok (dł. 2,3 mm) zamocowany stropem w centralnym punkcie oberblindrei, następnie przez blok na noku bomstengi (ten sam, do którego mocowany jest koniec fału) i ostatecznie odkładany jest na 4 pachole dziobowej belki na fordeku.

fał oberblindrei.jpg


Brasy (braces) – (śr. 0,2 mm) – mocowane okiem szplajsowym do noków oberblindrei. Następnie brasy biegną do góry, przechodzą przez pojedynczy blok (dł. 2,3 mm) zamocowany pod platformą marsa fokmasztu, w jego dziobowej części, dalej przez kolejny pojedynczy blok (dł. 2,3 mm) zamocowany pod platformą bliżej rufy i ostatecznie odkładane są na 4 i 5 pachołku (licząc od bakburty) znajdującym się na belce obok dzwonnicy.

brasy oberblindrei.jpg

Gejtawa (clue line) – (śr. 0,2 mm) – przebieg liny i mocowanie bloków gejtawy oberblindy jest identyczne jak dla gejtawy blindy; gajtawy oberblindy odkładane są wokół dziobowej belki na fordeku, obok gejtawy blindy.

Szoty – Niestety nie mam pewności co do tego, w jaki sposób ta lina przebiegała na okręcie. Po przestudiowaniu różnych źródeł jedyną wspólną informacją jaką znalazłem było to, że stała część szotu mocowana była na noku blindrei, na zewnątrz od mocowania topenanty ruchomej; następnie szot biegł w kierunku rogu szotowego oberblindy. Żaden z dostępnych mi rysunków lub opisów nie podaje jednak, jaki jest dalszy przebieg tej liny i gdzie była odkładana.
Ostatnio zmieniony 23 lip 2014, 08:59 przez Jarcio, łącznie zmieniany 3 razy.
Awatar użytkownika
Kuba_wroc
Posty: 0
Rejestracja: 28 mar 2013, 12:53

Re: Olinowanie HMS Victory

Post autor: Kuba_wroc »

Witam
Miałbym pytanie odnośnie doboru wielkości bloczków do grubości liny. Piszesz, ze liny brasów 0.2mm przechodziły przez blok 2.3mm, co się zgadza też z moimi informacjami. Natomiast wcześniej piszesz, że przez podobny blok 2.3mm przechodziła lina fału gr. 0.5mm. Różnica w grubości dość spora, a blok ten sam. Ten blok od fału nie powinien mieć 4.3-4.7mm?
Pozdrawiam
Kuba
Awatar użytkownika
Jarcio
Posty: 96
Rejestracja: 17 lut 2011, 13:43
Lokalizacja: {"name":"Polska Gdynia","desc":"","lat":"","lng":""}

Re: Olinowanie HMS Victory

Post autor: Jarcio »

Kuba, dzięki za czujność. Oczywiście średnica fału oberblindrei powinna być 0,2 mm. Już poprawiam. Prawdopodobnie bezmyślnie przekopiowałem tę informację z opisu fału dla blindrei. Wymiar bloku podany w opisie fału oberblindrei jest zatem właściwy. Dobrze, że ktoś czyta tekst i zwraca uwagę na szczegóły. :)
ODPOWIEDZ